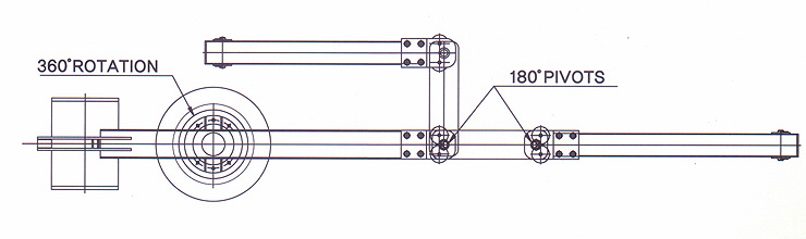
Arm Balance

| MAX. CAP | REACH "A" | "B" | "C" | "D" |
| 350 LBS | 1800 | 650 | 750 | 400 |
| 350 LBS | 2000 | 750 | 850 | 400 |
| 350 LBS | 2400 | 950 | 1150 | 400 |
| MAX. CAP | "E" | "F" | "G" | "H" | "I" | "J" | Model |
| 150 LBS | 450 | 600 | 400 | 340 | 105 | 136 | MAS-150 |
| 225 LBS | 500 | 660 | 450 | 342 | 25 | 133 | MAS-225 |
| 350 LBS | 600 | 700 | 420 | 365 | 25 | 112 | MAS-350 |
(MAS-000-P / MAS-000-S) P:PILLAR S: SUSPENSION


Air Mono Rail Hoist Crane

Electric Lng pump Lifter





동산엔지니어링 > 취급품목 >